室内装修与家具的健康隐患全解析----健康被困在“家”
一个被忽视的危机--“家”还是安全港湾代名词吗?
普通人努力攒钱,付首付,搞装修,安家定居,拥有一个稳定的居所。努力者的人生规划就是由此起步,可是我们投入巨资打造的温馨家园,已悄然侵蚀着我们的健康和危害我们的家人——尤其是婴幼儿、老年人以及免疫低下群体的健康根基。
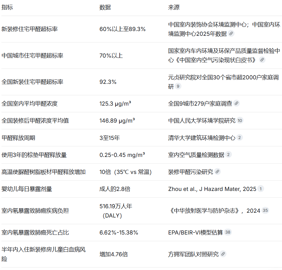
中国室内装饰协会环境监测中心的数据显示,我国新装修住宅的甲醛超标率高达60%以上;而中国室内环境监测中心2025年的一季度发布的数据更为惊人——全国新装修房屋甲醛超标率仍高达89.3%。国家室内车内环境及环保产品质量监督检验中心发布的《中国室内空气污染现状白皮书》则显示,中国城市住宅甲醛超标率高达70%以上,TVOC超标率亦达41%。看着这些有害数据的飙升,指示着我们的健康代价在“默默”加倍沉痛的付出。
温馨家园暗藏的“隐形毒药”:室内主要污染物全景扫描
1.1可潜伏长达15年的“头号元凶”——甲醛
作为世界卫生组织国际癌症研究机构(IARC)明确列出的一级致癌物,甲醛对人体的危害是多维度、渐进性的。甲醛释放周期长达3至15年,这意味着即便入住多年的旧宅,仍可能面临甲醛超标的隐患——污染问题并非新装修家庭的“专利”。
清华大学建筑环境检测中心在随机调研1000户家庭中发现,高达40%的家庭甲醛超标。全国多个城市调查数据显示,室内平均甲醛浓度达到125.3μg/m³,超过57%的样本超出国家标准。2020年全国室内装修后甲醛浓度平均值高达146.89 μg/m³,甲醛暴露致癌风险平均值达到9.07×10⁻⁴。
甲醛的主要来源是室内装修材料中广泛使用的脲醛树脂胶。胶合板、密度板等人造板材使用的脲醛树脂;布艺沙发、地毯、窗帘在添加的整理剂;床垫使用胶水粘合的棕垫,使用3年后甲醛释放量仍可高达0.25至0.45
mg/m³,这意味着我们每晚有8至10小时与这些释放源“近距离接触”。
甲醛的释放行为会受到温度、湿度的显著影响。研究显示,脲醛树脂胶粘合的人造板在35℃高温下的甲醛释放量是常温下的10倍。夏季高温高湿时,释放量可能增加50%以上;冬季开启地暖或空调制热,同样会加速挥发。
1.2千军百师的“混合军团”:数百化学物质组成——TVOC
总挥发性有机化合物(TVOC)并非单一物质,隐秘在胶水、涂料、地毯等地方。TVOC的超标问题同样严峻——全国城市住宅TVOC超标率达41%。疾病预防控制中心指出这些化学物质对呼吸道有强烈刺激性,长期接触可能引发慢性呼吸系统疾病。
1.3油漆里的毒物“香味”——苯系物
苯被世界卫生组织确定为强致癌物,进入人体后可能造成白细胞减少、贫血或血小板减少,是诱发白血病的元凶之一。苯及其同系物主要存在于油漆、涂料和胶粘剂中。方拥军团队对570名白血病患儿及1000名正常儿童的对照研究显示,半年内入住新装修房的孩子患病几率增加4.76倍。最新流行病学研究也表明,儿童急性淋巴细胞白血病中,患病前接触装修的比例约为31.4%。
值得警惕儿童对苯的敏感性远高于成人。2022年实施的《室内空气质量标准》(GB/T 18883-2022)将苯的限值从此前的0.11 mg/m³大幅缩紧至0.03 mg/m³,体现了监管部门对这一污染物的高度警惕。
1.4 肺癌第二大元凶——氡气
氡气是一种放射性惰性气体,来源于地基土壤和部分石材(如花岗岩)的放射性衰变。尽管公众对甲醛的关注度远高于氡气,但氡气的健康威胁同样不容小觑——它是仅次于吸烟的第二大肺癌致病因素。
中华放射医学与防护杂志的研究估算,2018年我国室内氡暴露致全人群肺癌的伤残调整寿命年(DALY)高达516.19万人年,50至54岁年龄组人群的疾病负担过高。基于EPA/BEIR-VI风险模型的进一步研究表明,假定我国居室内氡浓度水平为30Bq/m³,2015年由居室内氡所致肺癌死亡人数约为55512人,约占肺癌死亡的6.62%;如果浓度水平升高至70Bq/m³,归因比例将达到15.38%。
1.5 被忽视的“二次污染”伤害——隔音材料与塑胶地板
在日益高水平的生活品质趋势下,装修引进的隔音材料日益普及,但是隔音棉的带来的健康隐患却鲜为人知。隔音棉在制造过程中常使用含甲醛的粘合剂或添加剂,导致室内甲醛浓度超标;劣质隔音材料被检出甲醛释放量超过国家标准3倍以上,部分廉价隔音棉甚至含有石棉成分,其纤维颗粒极其细小,易被吸入肺部并长期滞留,可能引发尘肺病甚至肺癌。隔音棉在吸音的同时也会吸湿,如果卧室通风不畅,隔音棉就容易积聚水分,从而滋生霉菌。霉菌不仅会影响隔音棉的使用寿命,还会引发过敏、哮喘等呼吸系统疾病。
弱势群体是脆弱的“守门人”
2.1婴幼儿呼吸的污染物剂量是成人的2.8倍
2025年发表于《Journalof Hazardous Materials》的研究依据单位体重呼吸量更大,污染摄入浓度更高, 婴幼儿的呼吸频率远高于成人,单位体重的肺通气量约为成人的2至3倍。研究的量化结论:在相同甲醛暴露环境下,婴幼儿每日吸入的暴露剂量是成人的2.8倍以上。这意味着,在同一个房间里,孩子每分每秒吸入的污染物“浓度”远高于成人。
婴幼儿本就免疫系统和身体器官尚未发育成熟,装修材料中的挥发性有机化合物(VOCs)对宝宝的神经系统和发育产生潜在的负面影响,加上身高因素——许多气态污染物比空气略重,在近地面处浓度更高,婴幼儿活动的空间正是污染物浓度高聚集的区域。值得警惕的是,甲醛长期暴露还可能引发免疫系统紊乱,甚至改变细胞DNA结构,埋下癌症隐患。
2.2老年人是多重因素叠加的“高危群体”
老年人这个身份的表征就直接体现生理机能的自然衰退、基础疾病的叠加效应以及室内停留时间最长人群,都会受环境污染的长期累积逐渐侵蚀健康。
科学护家:从认知到行动的防护体系

污染数据统计
3.1走出认知误区,正视污染现实
“环保材料=零甲醛” 所谓“环保”,只是甲醛释放量低于国家标准,并非完全不含。当多种“环保材料”在密闭空间内叠加使用时,甲醛浓度仍可能超标。这就是“叠加效应”——单种材料达标,多种材料组合后仍可能超标。
新污染与环境毒理类中《室内装修甲醛污染健康效应及经济影响评价》结果表明:2020年全国室内装修后甲醛浓度平均值为146.89mg/m2,甲醛暴露致癌风险平均值为9.07x10-4,两者呈现“北高南低”的空间分布特征,其中北方呈现"冬高春低"的季节分布特征,南方呈现"夏高冬低"的季节分布特征,新疆西部和内蒙古西部装修后甲醛浓度及致癌风险高发。2020年全国住宅装修比例为14.4%,这导致甲醛污染致癌人数达2548人,占我国新增癌症人数的0.06%,南方甲醛污染致癌人数高于北方,京津冀及周边地区、长三角地区甲醛暴露致癌人数高于其余城市群。所以应对室内环境污染问题应当引起全体公众的高度重视。
3.2构建从源头到末端的全方位防护
防线一:源头控制
装修时选择E0级板材、水性漆等低醛材料,避免过度装修;家具优先选购实木或金属框架产品,减少胶黏剂使用;布艺品购买后先清洗晾晒,去除部分残留甲醛。值得关注的是,2025年7月1日正式实施的强制性国家标准GB18584-2024《家具中有害物质限量》大幅收紧了对有害物质的要求,甲醛释放量从原标准的1.5 mg/L调整为0.08 mg/m³,安全阈值降低了94%,同时新增苯、甲苯、二甲苯及TVOC等检测项目,并将可迁移有害元素由4种扩展至8种。
防线二:持续治理
通风仍是最经济的方法,但需讲究策略——夏季早晚开窗、冬季午间通风,配合新风系统或工业风扇加速空气流动。研究显示,装修后至少晾置3个月,最好能经历一个完整的夏季——高温是甲醛的“加速器”。入住后也应保持每天开窗两次,每次半小时以上。活性炭可吸附甲醛,但需定期更换;空气净化器需选择配备HEPA滤网和甲醛分解技术的型号
防线三:专业监测
入住前委托有资质的专业机构进行室内空气质量检测,重点关注甲醛、苯系物、TVOC、氡气等指标。2023年2月1日起实施的GB/T18883-2022将甲醛限值从0.10 mg/m³缩紧至0.08 mg/m³,这是更为严格的安全底线。对于有婴幼儿、老年人或免疫低下成员的家庭,建议在装修后、入住前以及入住后定期监测室内空气质量,确保各项污染物浓度持续低于国家标准。
3.3 特别人群的专属防护
对于婴幼儿家庭,装修需谨慎,选用实木和安全材料,避免过多复杂的装饰和布艺软装。新装修的儿童房应进行充分通风和净化,根据不同季节应通风至少4至8周才能入住。对于老年人家庭,装修可遵循“简约”原则,减少不必要的装饰材料使用。建议在入住前进行专业的室内空气质量检测,重点关注甲醛和TVOC指标。日常注意保持室内通风,尤其在开启地暖或空调的季节更应增加换气频次。对免疫低下群体考虑安装新风系统,实现持续稳定的室内空气净化。建议配备便携式空气质量监测设备,实时掌握室内污染状况。
居住品质的提升不应以牺牲健康为代价。婴幼儿纯净的眼眸、老年人安详的笑容、免疫力低下者脆弱的身体——这些珍贵的存在,值得我们用科学的态度去守护。在2025年新国标全面实施的时代背景下,我们有理由期待——通过科学的选材、规范的施工、持续的监测,让“家”真正回归其应有的本质:一个安全的港湾,而非健康的陷阱。
产品推荐
TYTH氨基复合型光触媒,核心定位是母婴安全除醛,高效分解游离和深层甲醛,无二次污染,全场景适配。分解技术以改性纳米
TiO₂为主体多,负责光催化分解。氨基功能组分为引入-NH₂、-RNH₂等氨基基团,负责物理吸附与化学中和。再通过复合方式让氨基通过接枝、掺杂、负载与光触媒结合,形成一体化材料,打造三维一体除醛体系,区别于传统单一成分产品,无需强光照射即可高效作用,白天黑夜都能稳定除醛。其核心成分可快速渗入密度板、颗粒板等甲醛释放源内部,自主捕捉并分解甲醛分子,将其转化为无害的水和二氧化碳,从源头解决甲醛超标问题,彻底避免吸附型产品易饱和、易反弹的弊端。

【免责声明】
【广告】(此文出于传播更多信息的转载发布,不代表本文的观点及立场。所涉文、图等资料的一切权力和法律责任归材料提供方所有和承担。文章内容仅供参考,不构成任何购买、投资等建议,据此操作风险自担!如若本文有任何内容侵犯您的权益,请及时联系本站邮箱:1958 11781@qq.com,本站将会在24小时内处理完毕。)